Call 0061 2 96052288;

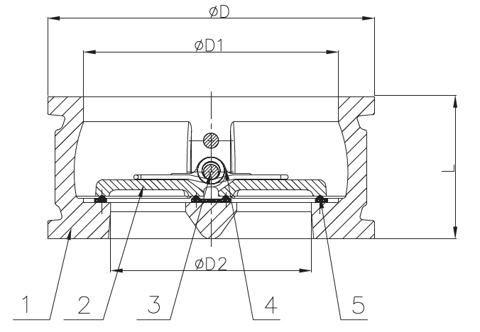
Check Valves - Double Door

Horizontal Line.jpg

Double Door Wafer Check ValveCV-DD-UL1.jpg

Type: DH77X, PN16,

UL Listed

Connection Ends: AS 2129 TABLE E,

Working Pressure: PN16

Temperature Range: 0℃- 100℃

Coating: Fusion Bonded Epoxy Coating in accordance with ANSI/AWWA C550

image.png

16092816408275.png

16092817284150.png





Downloads

Sign up for the latest news
Local call Australia-wide 0061 2 96052288;